Otevřeno  Po - Pá   7 - 17  / SO  8 - 12

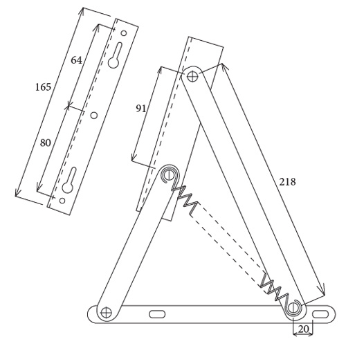
Postelové výklopné kování KP3

Pružinový zvedák na horní rám postele. V balení je pár L+P/ kování pro jednu postel. Systém usnadňuje otevírání postele. Otevírání od nohou 

365,00 Kč